Luiken, staldeuren en schuurdeuren
Frankrijk is het land van de luiken. Er bestaat niets wat het uiterlijk van een huis meer bepaalt dan vorm en kleur van de luiken. Iedere streek heeft zijn eigen type luiken, en de luiken worden ook ijverig gebruikt: ’s avonds dicht, ’s morgens open, en bij grote hitte overdag halfdicht. Er bestaat een grote variëteit van luiken, van helemaal gesloten tot de meest ingenieuze constructies met alle mogelijke beluchtings- en uitzetmogelijkheden. En als een huis lavendelkleurige luiken heeft in een streek waar dat helemaal niet gebruikelijk is, dan kun je er zeker van zijn dat dit het huis van Nederlanders is.
Als men rondkijkt kan men meer dan tien verschillende types klapluiken (volets battants) ontdekken, zie afbeeldingen 1 t/m 5. Hoe zuidelijker hoe ‘opener’ de luiken, dat wil zeggen hoe meer beluchtingmogelijkheden.





Een ding is belangrijk: Franse luiken sluiten op de muren en niet zoals in Nederland gebruikelijk op de kozijnen. Dit is van invloed op het type hengen en de montage van de duimen (de twee onderdelen van het ‘scharnier’ waarmee de luiken opgehangen zijn, in het Frans: duimen & hengen =gonds et pentures).
Ik zou bij de renovatie steeds het type luik kiezen dat in de streek gebruikelijk is. Bij de bouwmarkten en de filialen van de grote timmerfabrieken (Lapeyre etc.) zijn boerenluiken, volets à lames, volets Provençals, volets Dauphinois, volets Niçoises en vele andere te vinden. Deze zijn in standaardmaten óf op bestelling ook in de maten van een bestaande raamopening leverbaar. Boerenluiken kan men ook eenvoudig zelf maken, en simpele buitendeuren (staldeuren) evenees, zie hoofdstuk 5.
In deze bijdrage wordt uitgelegd hoe klapluiken aan te brengen zijn, hoe eenvoudige ‘boerenluiken’/staldeuren zelf te maken zijn, hoe uitgezakte klapluiken weer in vorm gebracht kunnen worden en er wordt op vouw- en rolluiken ingegaan. Een apart hoofdstuk aan het einde is gewijd aan grote schuurdeuren.
1. Afhangen van klapluiken

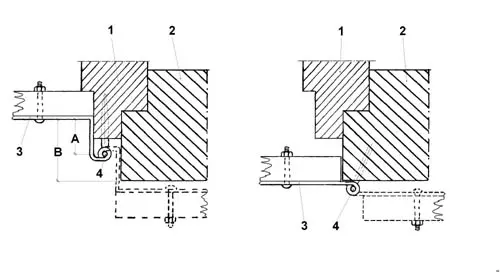
Welk type luiken men ook wil plaatsen, de voor het afhangen toe te passen methode is steeds dezelfde. Voor het verschil tussen de Nederlandse en de Franse methode van luiken afhangen zie afb.6: dit is een horizontale doorsnede door een luikophanging, links de Nederlandse en rechts de Franse methode.
A moet gelijk ½ B of groter dan ½ B zijn
In afb. 6 rechts slaat het luik gewoon in de raamnis; er kan voor de luiken ook een sponning
in de muur voorzien zijn, zie afb. 9.
De werkwijze bij de montage van de luiken wordt hier uitgelegd voor het meest voorkomende geval van een tweedelig luik waarvan een vleugel naar rechts en een naar links slaat, en waarvan de duimen in een draagkrachtige muur ingemetseld worden.

Afbeelding 7
luiken afstellen met wiggen
De stappen bij het afhangen zijn:
- Beide vleugels van het luik in de opening plaatsen en met latjes/wiggen loodrecht en haaks nivelleren. Rondom en tussen de twee luiken dient een spleet van 5 à 8mm aangehouden worden. Te kleine spleten kunnen bij uitzetten door vochtopname tot klemmen leiden.
- Bij een niet haakse deuropening de afwijking opmeten en de luiken dienovereenkomstig afzagen (eerst onderkant, dan opnieuw inzetten en bovenkant opmeten).
- De hengen met hun ogen in één lijn monteren. Hiervoor gebruikt men óf slotbouten óf de speciale vis pour pentures met TORX-aandrijving (voorboren).
- Bij metselduimen (zie afb. 8) hun plaats op de muur bij de raamopening aftekenen en ruim uitboren; het boorgat iets ‘omgekeerd-taps’ en zo mogelijk schuin naar achteren uitvoeren. Voorwaarde is dat de muur op de plaats van de duimen draagkrachtig is. Als duimen op een voeg of een andere holle plaats komen te zitten moet men die eerst stevig met cementmortel en steenbrokken opvullen voor men het gat maakt.
- Duimen in de hengen plaatsen en aan deze met lijmtangen, plakband of draad provisorisch vastzetten.
- Luiken opnieuw plaatsen, nivelleren en stevig schragen. De duim en het oog van de heng compleet met plakband inpakken om het indringen van mortel te voorkomen.
- Duimen incementeren met mortel van 3 delen zilverzand op 1 deel snelcement (ook kant-en-klaar als mortier de prise rapide of mortier pour petits scellements verkrijgbaar). De mortel met een passend stuk hout goed diep het gat indrukken, bij grotere gaten tussendoor stukjes (bak-)steen indrukken. 24uur (of de op de verpakking aangegeven tijd) laten uitharden.
- Scharnieren uitpakken, smeren en het luik bewegen.
- Slot of grendel plaatsen.
- De luiken in ieder geval op beide kanten met hetzelfde type verf en hetzelfde aantal lagen afwerken (anders trekt het luik deur door het verschil in vochtopname krom).
Hint voor perfectionisten: Demonteer opliggende sloten en grendels vóór het verven weer – het werkt zo veel makkelijker en het resultaat is zo veel mooier. In Frankrijk bestaan heel doelmatige espagnoletsluitingen voor luiken waarmee deze ook in een kierstand gezet kunnen worden, en voor moeilijk bereikbare luiken bestaan des ferme-volets, eenvoudige beugels, en ook klapgrepen die het dichttrekken vergemakkelijken (poignées de tirage) – goed kijken in de afdeling quincaillerie van de bouwmarkt. Daar zijn ook beveiligingsbeugels (barres de sécurité) en andere beveiligingsmiddelen te vinden.
Afbeelding 8 |
Afbeelding 9 |
Ingemetselde duim; de cementspecie is hier nog niet compleet uitgehard en daarom donker, verder wordt dit nog met een ‘kosmetische’ laag van voegspecie met de juiste kleur afgewerkt. Voor dit luik is een sponning in de muur voorzien.
Maar behalve de beschreven inmetselduimen (gonds à sceller) bestaan ook andere, die in een boorgat geschroefd of gelijmd worden: gonds à expansion, gonds à tirefond, gonds à scellement rapide (= gonds chimiques).
Afbeelding 10 |
Afbeelding 11 |
De werkwijze met plaatsen en nivelleren is dezelfde als boven beschreven, alleen de stappen 4 t/m 8 worden bij het werken met bijv. reactiepatronen vervangen door:
4a Controleren of de muur op de plaats waar de duimen ingeboord moeten worden draagkrachtig is.
5a Het montagehulpstuk (gabarit pour gonds) in de heng plaatsen.
6a Met behulp van de gabarit gaten in de muren boren.
7a Gabarit demonteren, reactiepatronen plaatsen en duimen zonder scharnierpen indrukken/inslaan; dan pas de los meegeleverde pen inzetten. Reactiepatronen worden verkocht als chemische pluggen (chevilles à réaction, système pour scellement rapide). Bij holle of poreuze materialen wordt bij deze methode eerst een zeef-plug (tamis) in het gat geplaatst. In ieder geval op de gebruiksaanwijzing letten en de aangegeven uithardingtijd aanhouden. Bij grote klussen zijn patronen voor in de kitspuit handig. Bekende merken van de Résine à scellement rapide zijn Fischer en Upat.
8a Scharnier smeren, luik bewegen.
Voor de andere in een boorgat te plaatsen duimen met plastic plug of keilbout wijst de werkwijze zich vanzelf. Duimen met een twee- of vierschroefs muurplaat kan men bij muurbevestiging beter niet gebruiken; deze zijn voor houten kozijnen bedoeld.
Er bestaan ook dubbel klappende luiken waarvan beide vleugels naar één kant klappen; deze zijn dan met een speciale heng (penture pour volets articulés) gemonteerd. Een andere mogelijkheid is een asymmetrisch stel luiken: een kleinere vleugel aan de kant waar weinig ruimte is, een grotere aan de andere kant.

Afbeelding 12
asymmetrische luiken
2. Rolluiken
Wie denkt dat rolluiken, en speciaal voorzetmodellen, een verschijnsel van deze tijd zijn moet eens de afbeeldingen 13 en 14 bekijken. Rolluiken die duidelijk de stijl van de jaren 20 of 30 hebben. Deze zijn in deze historische panden blijkbaar later aangebracht.
De nu verkrijgbare rolluiken voor buitenmontage (van metaal of kunststof) zijn strakker van vorm, volgens sommigen veel minder stijlvol. Voor een esthetisch bevredigende plaatsing moet een voldoend diepe raamnis aanwezig zijn, zie afbeelding 15 t/m 17. In een monumentenpand zou dat niet erg geslaagd zijn, zie afb. 18.
Afbeelding 13 en 14 |
![]() |

Afbeelding 15
modern rolluik met binnenliggende rolkoker

Afbeelding 16
modern rolluik met buitenliggende rolkoker in een voldoende diepe raamnis

Afbeelding 17
modern rolluik met buitenliggende rolkoker in een niet voldoende diepe raamnis

Afbeelding 18
Een modern rolluik in een monumentenpand? Niet mijn smaak. Voor rolluiken bestaan diverse modellen hand- en elektrische bedieningen. Er bestaan ook modellen waarvan het frame schuin uitgezet kan worden (zie bij Persiennes).
Bij plaatsing van compleet nieuwe ramen bestaat de mogelijkheid een model met geïntegreerd rolluik te kiezen, de rolkoker zit dan als het ware in de latei.
3. Les ‘Persiennes’
Opvouwbare luiken die uit smalle verticale stroken bestaan heten in Frankrijk persiennes, ookpersiennes pliantes genoemd. Deze bestaan in hout, metaal en kunststof. In open stand neemt het lamellenpakket steeds een stuk van de raamopening weg. Persiennes zijn daar met voordeel te plaatsen waar op de gevel geen plaats is voor openslaande luiken, en waar de raamnissen voldoende diep zijn om het lamellenpakket op te nemen, zie afb. 19. Bij de meest gebruikelijke persiennes loopt om de hele raamnis een frame van ijzeren profielen waarvan de verticale de lamellen dragen en waarvan de horizontale als aanslag dienen. Er bestaan ook uivoeringen waar dit frame uitgezet kan worden, zie afb. 21.
Metalen persiennes hebben vaak luchtspleten, louvres.
Persiennes moeten in het algemeen op maat gemaakt worden.

Afbeelding 20
Persiennes gesloten

Afbeelding 21
Persiennes uitgezet
4. Uitgezakte luiken weer in vorm brengen
Het verhaal van Kees, Piet en François
Het Franse boerenhuisje van Kees had uitgezakte luiken. Het ging om het type eenvoudige luiken die uit planken met messing en groef samengesteld zijn, en met daarop de drie decoratieve planken in Z-vorm, die alles bij elkaar houden, zoals in afb. 1, 2 en 12. Een beetje schaven aan de sluitkant, de onderkant recht zagen, en alles moet goed zijn dacht hij. Maar omdat de luiken echt in parallellogramvorm uitgezakt waren was er ook aan de bovenkant een lelijke scheve spleet. Wat dus te doen?
Zijn vriend Pietje bekeek het probleem en kwam tot de conclusie:
Is het uitzakken werkelijk het probleem dan kan je gaan schaven maar dat moet dan elk jaar gebeuren. Weet je wat ik zou doen: haal het luik eraf, probeer het luik weer haaks te maken; indien mogelijk opnieuw lijmen met vullende PUR-lijm en dan ijzeren hoeken op de luiken schroeven om het geheel te fixeren. PUR = Polyurethan is een constructielijm die door bruisen kieren vult.
Toen Kees juist het eerste luik op de schragen had, kwam de oude buurman François langs, en die was toevallig in zijn actieve leven timmerman geweest. Toen hij van Kees hoorde wat hij van plan was schudde hij zijn kaal hoofd en hield een college over luiken. Hij had het over de lames, de verticale planken met messing en groef en afgeschuinde kanten, en over het Z-verband, de barres et écharpes. De lames hebben een standaarddikte van 21mm, bij erg grote luiken ook 28 mm. Zij hebben vroeger de planken nooit aan elkaar gelijmd, want dat belemmert het werken van het hout, en dat gebeurd bij iedere wisseling van de luchtvochtigheid. ‘Le bois respire comme nous’, zei hij en ademde diep ter demonstratie van hetgeen hij bedoelde. Als de werking in de tong-en-groef van de‘lames’ door de verlijming belemmerd wordt, kan het hout van de lamellen scheuren. En dan liet hij Kees zien hoe hij luiken weer recht en haaks stelt.
Laat de luiken op hun plaats hangen. Alle schroeven losdraaien, ook de slotbouten van de hengen. Dan de luiken in gesloten toestand met wiggen of ondergelegde stukjes multiplex recht en haaks stellen. De schroeven weer vastdraaien. Dan kijken of de écharpe goed zit. Die is het belangrijkst! Dit diagonaalverband van de Z-vormige latten (barres et écharpes) houdt het luik in vorm en bewaart het voor uitzakken. De écharpe moet strak tussen de horizontale barres zitten. Zonodig een stukje hout erbij leggen of een nieuwe strak zittende écharpe maken. De standaardmaat hiervoor is 68×22 mm, en met eenzijdige afschuining.
Overigens: Als het weer recht en haaks gezette luik niet goed sluit, dan moet er geschaafd en/of gezaagd worden. En wél zo zagen dat de onderkant van de luiken minimaal 5 mm boven de negge (buitenvensterbank) zit, want op deze manier is een goede afwatering gewaarborgd. Bij een strak op de negge rustend luik wordt onherroepelijk water in het hout opgezogen en dat is beslist niet goed.
Kees is nu trots op zijn goed sluitende luiken met hun authentieke uitstraling, en Piet is ook overtuigd.
5. Boerenluiken zelf maken
Tot nog toe hadden wij het over het (opnieuw) afhangen van luiken. Soms is het nodig luiken nieuw te (laten) maken. Dit zou ik alleen bij de simpele boerenluiken zelf doen. De hier beschreven werkwijze voor boerenluiken is ook van toepassing voor simpele buitendeuren, bijv. van schuren, stallen en andere bijgebouwen. Deze luiken en deuren worden traditioneel uit planken in elkaar gezet en zonder kozijn in de gemetselde muuropening geplaatst. Voor deuren heeft de muur meestal een profiel (sponning) voor de opname van de deur; dit is bij luiken soms ook het geval. Planken met speciale messing en groef (lames à volets) worden door een opgeschroefd Z-verband (bandes et écharpes) tot een luik of deurblad samengevoegd en met hengen & duimen (pentures & gonds) afgehangen. Het Z-verband bestaat uit horizontale barres en een diagonale écharpe die het uitzakken moet voorkomen. In bepaalde streken worden in plaats van bandes et écharpes ook eenvoudig heel brede bandes toegepast. Het zelf maken van deze luiken en deuren is geen probleem.
Ik praat even over luiken, om niet steeds weer deur/luik te moeten schrijven.
Materiaal om het zelf te maken:
– lames universelles of lames pour volets ca. 90×21 mm en ca. 95×28 mm, in courante lengtes van 2,5 tot 5 m.
– Barres en écharpes ca. 70×22 mm of 80×28 mm
Voor deuren/luiken die meer dan 60 cm breed of meer dan 150 cm hoog zijn is de grotere dikte van lames en barres et écharpes aan te bevelen.
Men gebruikt drie barres en een dubbele écharpe bij een hoogte/breedte-verhouding van meer dan 3 op 1 en bij een zware deur. Bij een dubbele écharpe (en dus drie barres) horen ook drie scharnieren (duimen & hengen, gonds & pentures)
Lengte van de pentures (hengen) minimaal 2/3 van de breedte van de deur/luik, duimdikte van de gonds 14 mm, en bij deuren van meer dan 80cm breedte liefst 16 mm.
Afbeeldingen 22 en 23 |
![]() |
Werkwijze:
Lamellen op lengte zagen met een toegift van 10-20 mm in de hoogte. Bij de eerste en laatste lamel messing resp. groef afzagen, of een lamel in de lengte doormidden zagen en de helften aan weerszijden plaatsen. Dwarslatten (barres) zagen, bij lengtebepaling op sponning van de raamopening letten (a); inkepingen voor de diagonale écharpes zagen (b). Lamellendeur goed uitgelijnd op schragen plaatsen. Diagonale en dwarslatten op de lamellendeur leggen, uiteinden van de diagonale aftekenen. Dwarslatten monteren, hierbij de lamellen tegen elkaar drukken. Dan pas de diagonale monteren. Hiervoor gebruikt men zogenaamde vis pour pentures (bijv. 6 x 45 bij lamelles21 en bandes/écharpes 28 dik). Dit zijn houtschroeven met een zeer platte kop, meestal met torx-aandrijving. Beslist voorboren: 6 mm in de lamellen, 4 mm in de bandes/écharpes.
Als u zeker bent van maten en haaksheid van de deur- of raamopening, kunt u nu boven- en onderkant van de deur/luik haaks afzagen. Anders zie punt 2 van de montagelijst onder 1. Afhangen van klapluiken. Voor de montage (het afhangen) van deuren of luiken zie boven de stappen onder 1. Afhangen van klapluiken. De beschreven werkwijze is in principe ook toepasbaar op meerdelige deuren, zie afb. 24 – 26.
Je kunt deze luiken en deuren natuurlijk ook kopen of laten maken. Standaardmaten zijn kant en klaar in bouwmarkten te koop (bijv. Lapeyre), maatuitvoeringen zijn te bestellen.

Afbeelding 24
luiken uit lames et barres&écharpe, hier bij een terrasdeur

Afbeelding 25
driedelige staldeur

Afbeelding 26
dezelfde staldeur van binnen
6. Renovatie van grote schuurdeuren
Bijna alle boerenhuizen hebben of hadden een grote schuurdeur, breed en hoog genoeg om een volgeladen hooiwagen te laten passeren; breedtes van rond de 3 m en hoogtes van 3,5 m of meer zijn niet ongebruikelijk. Vaak zijn deze deuren niet meer aanwezig (afbeelding 27), of zij zijn wegens jarenlang niet-gebruik verwaarloosd. Vooral de onderkant is door optrekkend bodemvocht meestal verrot (afbeelding 28). Wie boft treft een in de originele vorm gerestaureerde deur aan (afb.29) of een die met een beetje werk weer op te knappen is (afbeeldingen 30 en 31).

Afbeelding 27

Afbeelding 28

Afbeelding 29

Afbeelding 30
Helaas zijn veel deuren gemoderniseerd en ‘aan de eisen van deze tijd’ aangepast. Men hoeft immers geen hoogbeladen hooiwagens meer in te rijden, volgelijk is een hoogte van 2,2 m voldoende. Dus heeft men een houten of betonnen dwarsbalk op de juiste hoogte geplaatst, daaronder een moderne garagedeur met kozijn geplaatst en het vak daarboven op een doelmatige manier opgevuld, zie afb. 32-34.

Afbeelding 31
Maar het kan ook anders, zie afbeelding 35-37. De eerste eigenaar heeft het bovenveld door een toograam opgevuld, en de tweede, die in de vroegere schuur nu zijn ‘salon’ heeft, heeft een heel aparte oplossing gevonden.

Afbeelding 32

Afbeelding 33

Afbeelding 34

Afbeelding 35
Moderne garagedeur en bovenlicht vervagen een hoge schuurdeur. Een kozijn is steeds een teken van een restauratie, want de originele deuren sloten rechtstreeks op een sponning in de muur. Hier ook moderne scharnieren (gonds et pentures)
|
Afbeeldingen 36 en 37 |
![]() |
Wie de schuurdeuren in originele stijl en techniek renoveren wil moet weten hoe deze ooit gemaakt werden. De grotedeuren van de boerenschuren in onze buurt zijn onmogelijk eruit te tillen, want deze meten tot 1,6×3,6 m (BxH) per vleugel, vantail. Maar ik heb van de timmerman in ons dorp geleerd dat deze deuren ter plekke gemaakt waren (fait sur place): eerst werden de eiken geraamtes (l’ossature) geplaatst, uitgelijnd, en er werd gekeken of zij goed draaiden – dan pas begon men met beplanken; door het gewicht werd hiervoor sapin of populierenhout gebruikt, maar beslist geen eiken. Nu begreep ik ook waarom een door de welwillende eigenaar met eiken beplankte oude schuurdeur binnen een half jaar verzakt was. Volgens de charpentier werden de planches en sapin om de veertig of vijftig jaar vernieuwd, de ossatures gaan wel driehonderd jaar mee. Hij had van zijn vader nog de beitels om de speciale groef/groef-verbinding in de om-en-om geplaatste planken te frezen, dus geen messing-en-groef.

Afbeelding 38
een vleugel van de schuurdeur gedeeltelijk nieuw beplankt
Na deze beschrijving ging ik aan het werk. Dus eerst alle planken van de deuren verwijderd (zij zagen er erger uit dan die op afb.28). Dan heb ik de ossature goed bekeken. De ‘scharnieren’ bestaan uit een ijzeren pin aan de onderkant die in een iets uitgeholde steen draait, en boven draait het rond gemaakte uiteinde van de balk in een ringvormige ijzeren houder, zie afb. 41 en 42. Ik heb zoveel mogelijk oude planken, die ik van een gesloopte schuurdeur kon bemachtigen, op maat gezaagd en op de ossature geplaatst, de rest heb ik met nieuwe planken opgevuld. Ik heb de planken overigens geschroefd, want in de oude eiken balken kon ik haast geen spijker slaan.
Het resultaat is op afbeeldingen 39 en 40 te zien.

Afbeelding 39
de gerenoveerde schuurdeur

Afbeelding 40
schuurdeur van binnen, met de typische pendelboomsluiting

Afbeelding 41
het onderste ‘scharnier’

Afbeelding 42
het bovenste ‘scharnier’
De ruitjes in de schuurdeuren zijn een verhaal apart. In onze streek heeft bijna iedere boer een ander motief in zijn schuurdeuren, soms heel eenvoudig, soms fantasievol of bewerkelijk, zie afb.43-47. Toch leuk, zo’n beetje lokaalkoloriet.

Afbeelding 43

Afbeelding 44

Afbeelding 45

Afbeelding 46

Afbeelding 47
© Christian von Klösterlein





